Kategorie

Häfele Duomatic slepý úhel naložený

Häfele Duomatic slepý úhel naložený

Obj. č: 329.34.601

135,54 Kč

112,02 Kč bez DPH

ks
Koupit

Detaily výrobku

Upevnění misky

k přišroubování

Balení

1 nebo 50 ks

Materiál

miska ze zinku, ramínko z oceli

Povrchová úprava

niklováno

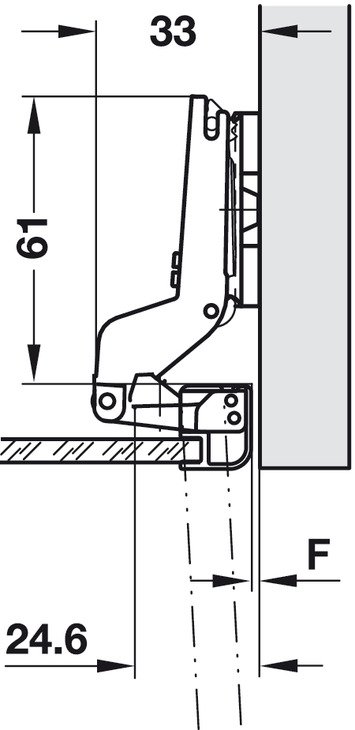
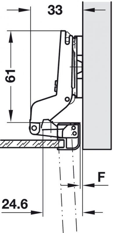
Montáž

Dveře nasadit na korpus nasouvací technikou pomocí montážních podložek Duomatic A nebo rychlomontážní technikou pomocí montážních podložek Duomatic SM

Úhel otevření

105

Ramínko závěsu

Velmi zalomené
s otevíracím mechanismem (Push, je vyžadována samostatná pružina/záskočka dveří)

Hafele miskový závěs,Häfele Duomatic Push 105°, vložená montáž